我公司設計的V法造型生產線,基本有五大系統組成,即造型系統,砂處理系統、真空系統,除塵系統、水循環系統組成。
造 型 系 統
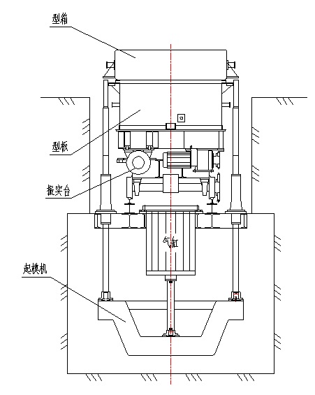
(一)儲砂斗
我公司設計的儲砂斗,可保證造型生產線生產5小時以上的用砂量,根據工藝要求,我公司的儲砂斗在80-500噸之間,因而我公司的生產線無需中間砂斗,給車間的管理帶來了很大的方便,也大大減少了車間的占地面積,投資成本和維修管理費用也節省了很多。
我公司設計的儲砂斗主體立柱為250×250×10的矩形管制成,斗體為20#槽鋼及t8鋼板焊接而成,中間有三層拉筋,可以做到滿料及空料,砂斗不變形。斗體內的所有型砂重量全部由斗體內的減壓裝置承擔,因而對砂斗體上的覆膜加熱裝置,水平開關不會產生因砂斗變形而帶來的故障。
|
|
(二)水平開關 
水平開關的大小,根據砂箱尺寸來設計。
(三)覆膜加熱裝置
采用電阻絲加熱,將EVA塑料薄膜加熱到規定的工藝要求溫度后(不到1分鐘),氣缸下降,將EVA塑料薄膜覆蓋在型板上,之后將移動覆膜框上升歸位。如采
用石英管發熱加熱,熱效率差,加熱時間長(5~8分鐘)。
覆膜機構驅動裝置為變頻控制減速電機,在各工位之間運行,根據需要可以到達任一工位,操作方便可靠。
電阻絲功率根據工藝要求,調整后一次定型,因而調試方便快捷,可自動、手動操作。
此裝置的驅動設備為日本住友變頻電機,特點是定位準確,使用壽命長,它的運行全部由程序控制,操作時只需按一次按鈕即可,操作極為簡單便利。
|
|
|
(四)振實臺移動小車
其功能為將型砂緊實,及運行至加熱工位和起模工位,驅動裝置使用變頻控制減速電機。
采用空氣彈簧減震,對基礎沒有任何要求。根據所要承載的重量選擇合適的空氣彈簧,因此只需配置4個空氣彈簧;
真空軟管、信號線、電纜線等均安置在板式電纜拖鏈中,保證了造型線的安全可靠。
振實臺小車的臺面尺寸,根據砂箱大小來設計。
![]() 臺面尺寸3800x2200 |
![]() 臺面尺寸2600x1750 |
目前我公司生產的^大的移動振實小車,臺面尺寸為3100×3900,激振力達32噸,型砂加砂箱超過20噸。可供5~40噸系列移動振實臺小車。
采用過多的空氣彈簧(或橡膠墊)是不合理的做法
(五)起模機構
我公司的起模機構使用超大氣缸,四根頂桿固定在同一缸體上,而達到同步目的。一般我公司的起模機構、頂桿直徑超過120毫米,調質加工后鍍鉻、磨光處理。我公司的起模機構一般可頂起10~30噸左右的砂箱,起模機構的壽命可以說是無限的;
![]() 組裝后的起模機 |
![]() 起模機在起模 |
不同設計的起模機對比
不合理設計 我公司設計
采用四個油缸起模,不可能^保證頂桿等距同速運行,會產生晃動,破壞型腔。而采用一個氣缸同時控制4根導桿,則無此種狀況。
(六)機械手自動翻合箱機
目前的幾種做法:
1、我公司的機械手自動翻合箱機

由翻合箱臺、機械手、翻箱裝置、小車系統、氣動控制(或液壓控制)、PLC電控等組成。有效提高自動化程度及合箱精度,可克服人工合箱時碰撞損壞型腔,減少勞動強度,節省勞動力。
驅動采用變頻減速電機。工作時機械手小車運行到下箱起模工位(可以不用起模機),機械手直接起模,運行至合箱工位后完成翻箱工作,并將翻箱完成后的下箱放好;然后機械手小車運行到上箱起模工位,機械手起模,再運行至合箱工位將上箱放下完成合箱。
此翻合箱機械手運行穩定、可靠,定位^,對工人操作要求低。
2、不同類型的機械手自動翻合箱機
優點:真空可以自動切換,無需人工插拔真空軟管。
缺點:結構復雜,且砂箱、型板及各設備制造要求高;由于真空管是自動吸合切換,易造成吸合面漏氣,嚴重時可造成塌箱;合箱精度相對難保證,難免造成合箱不上,對工人操作要求較高;該設備制造成本和使用成本相對較高。
3、也可采用機械式翻箱,由人工用行車合箱
采用變頻減速電機驅動,操作簡單,安全可靠,便于調節。對砂箱制造要求低,投資省。
|
|
|
(七) 氣控
采用日本進口SMC產品,其質量和性能可靠,壽命長。(國內^長使用已近20年還在正常使用)
|
|
(八) 電控
采用PLC程序控制,含自動、手動。操作簡便,所有限位開關均為無觸點,限位準確且不易損壞,運行可靠,主要電器元件均為進口產品。
- 2014-04-01 > 熱烈祝賀我公司V法造型線機械手自動翻合箱機調試成功
- 2012-05-30 > 我公司網站圖片被盜用
- 2012-05-16 > 江陰鑄造:用誠信鑄就品質 靠創新贏得市場
- 2012-05-15 > 20th沖天爐熔煉工藝實踐
- 2012-05-15 > 熱烈祝賀我公司新網站建成
- 2012-05-07 > 云貴地方焦在長爐齡沖中爐上的應用
- 2012-05-04 > 延長除塵器布袋壽命的注意事項
- 2012-05-03 > 氣箱脈沖布袋除塵器要注意的安全操作規程
- 2012-05-01 > 論水冷無爐襯冷風大雙沖天爐熔煉高溫優質鐵液
- 2012-04-30 > 林格曼黑度






